ШРКШ (внутрішній) VW T5 2.5TDi 03- (R) (26x30x366) (opt-om) GSP
Дана запчастина не підходить для вибраного автомобіля
потрібна перевірка за VIN-кодом, уточнюйте сумісність у наших фахівців
потрібна перевірка за VIN-кодом, уточнюйте сумісність у наших фахівців
|
3 418 ₴
в наявності
|
- Виробник
- GSP
- Каталоговий номер
- 661021
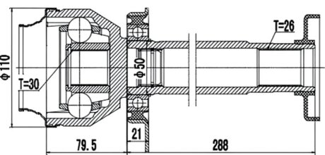
- Внутрішнє зубчасте з'єднання з боку диференціалу
- 30
- Сторона встановлення
- з боку коробки передач
- Зовнішнє зачеплення із боку диференц.
- 26
- Діаметр прокладки [мм]
- 50
- Довжина [мм]
- 366
- Зубчасте з'єднання з боку коробки
- 30
- Вид коробки передач
- механічна коробка передач

КОД ТОВАРУ
661021

АРТИКУЛ ТА ВИРОБНИК ТОВАРУ
661021
(GSP)

КАТАЛОЖНІ НОМЕРИ АНАЛОГІВ
| Виробник | Артикул | Виробник | Артикул | Виробник | Артикул |
| ASAM | 98687 | AUDI | 7E0498104PX | AUTEX | 822193 |
| AUTOTEAM | G450052 | AUTOTECHTEILE | 3407030 | BSG | BSG90340039 |
| CIFAM | 617035 | DENCKERMANN | C120187 | Dr!ve+ | DP2110101654 |
| DYNAMATRIX | DCV661021 | EAI | CV24221K | FAG | 771051230 |
| FORMPART | 29398038S | GSP | 261140 | GSP | 202361 |
| JP GROUP | 1143501260 | KAMOKA | 8743 | LÖBRO | 304841 |
| LPR | KVW871 | MAGNETI MARELLI | 302004190108 | MAGNETI MARELLI | 302009100045 |
| MAXGEAR | 490480 | METELLI | 161035 | METELLI | 171069 |
| MEYLE | 1004980616 | MILES | GA10042 | Multiparts | 14216099 |
| NK | 5147133 | NTY | NPWVW008 | OPTIMAL | CT1013 |
| PROFIT | 27102660 | PROTECHNIC | PRJ515 | RIDEX | 5J0387 |
| SAMKO | 36K871 | SKF | VKJA8543 | SKF | VKJC5205 |
| SOLGY | 216010 | SPIDAN | 24568 | Stark | SKJK0200542 |
| STELLOX | 1601033SX | TrakMotive | 450052 | TRISCAN | 854029217 |
| VAICO | V102168 | VW | 7H0498104G | VW | 7H0498104A |
| VW | 7H0498104GX | VW | 7H0407332J | VW | 7H0407332 |
| VW | 7E0498104P |

ЗАСТОСУВАННЯ
| Марка / Модель | Марка / Модель | Марка / Модель |
| VW MULTIVAN Mk V (7HM, 7HN, 7HF, 7EF, 7EM, 7EN) | VW TRANSPORTER Mk V c бортовой платформой/ходовая часть (7JD, 7 | VW KOMBI V фургон (7HA, 7HH, 7EA, 7EH) |
| VW EUROVAN V автобус (7HB, 7HJ, 7EB, 7EJ, 7EF) |
Застосовність
- GSP 661021 підходить до марок/моделей авто:
- - Volkswagen: Multivan, Transporter
- Товарна група:
- - Зчеплення та трансмісія ШРУС
Аналоги "661021 GSP":
4 538 ₴
в наявності
- Артикул:
- 302009100045
- MAGNETI MARELLI
Сторона встановлення: передній міст
3 485 ₴
в наявності
- Артикул:
- 16-1035
- Metelli
Механічно оброблений: без нарізки/виїмки у внутрішній частині
Внутрішнє зубчасте з'єднання з боку колеса: 30
Зовнішній діаметр [мм]: 108
Матеріал: Гума
Внутрішнє зубчасте з'єднання з боку колеса: 30
Зовнішній діаметр [мм]: 108
Матеріал: Гума
2 602 ₴
в наявності
- Артикул:
- C120187
- Denckermann
Сторона встановлення: з боку коробки передач
Довжина [мм]: 26
Внутрішнє зубчасте з'єднання з боку диференціалу: 30
Діаметр шарніра [мм]: 44.5
Зубчасте з'єднання з боку коробки: 26
Довжина [мм]: 26
Внутрішнє зубчасте з'єднання з боку диференціалу: 30
Діаметр шарніра [мм]: 44.5
Зубчасте з'єднання з боку коробки: 26
5 142 ₴
в наявності
- Артикул:
- 771 0512 30
- FAG
Зовнішнє зачеплення із боку диференц.: 26
Внутрішнє зубчасте з'єднання з боку диференціалу: 30
Діаметр прокладки [мм]: 50
Матеріал: термопласт
SVHC: Не містить речовин SVHC!
Внутрішнє зубчасте з'єднання з боку диференціалу: 30
Діаметр прокладки [мм]: 50
Матеріал: термопласт
SVHC: Не містить речовин SVHC!
2 755 ₴
в наявності
- Артикул:
- 2710-2660
- PROFIT
Сторона встановлення: з боку коробки передач
1 970 ₴
в наявності
- Артикул:
- RWS1401
- ROTWEISS
3 650 ₴
в наявності
- Артикул:
- VKJA 8543
- SKF
-
Швеція
Внутрішнє зубчасте з'єднання з боку диференціалу: 26
Зубчасте з'єднання з боку коробки: 30
Захист від пилу: Із захистом від пилу
Додатковий артикул / додаткова інформація 2: з підшипником
Тип з'єднання/зчленування: Шарнір рівних кутових швидкостей
Механічно оброблений: з пазом у внутрішній деталі (зовні)
Зубчасте з'єднання з боку коробки: 30
Захист від пилу: Із захистом від пилу
Додатковий артикул / додаткова інформація 2: з підшипником
Тип з'єднання/зчленування: Шарнір рівних кутових швидкостей
Механічно оброблений: з пазом у внутрішній деталі (зовні)
9 199 ₴
в наявності
- Артикул:
- 24568
- SPIDAN
Сторона встановлення: з боку коробки передач
Тип з'єднання/зчленування: Диск шарніру
Внутрішнє зубчасте з'єднання з боку диференціалу: 30
Зубчасте з'єднання з боку коробки: 26
Механічно оброблений: з нарізкою/виїмкою у внутрішній частині
Довжина [мм]: 395
Додатковий артикул / додаткова інформація 2: з підшипником
Нова деталь:
Номер рекомендуємого спеціального інструменту: 190134
Розмір різьби: M20x1.5
Матеріал пильника: TPE (термопластичний еластомер)
Діаметр шарніра [мм]: 107
Тип з'єднання/зчленування: Диск шарніру
Внутрішнє зубчасте з'єднання з боку диференціалу: 30
Зубчасте з'єднання з боку коробки: 26
Механічно оброблений: з нарізкою/виїмкою у внутрішній частині
Довжина [мм]: 395
Додатковий артикул / додаткова інформація 2: з підшипником
Нова деталь:
Номер рекомендуємого спеціального інструменту: 190134
Розмір різьби: M20x1.5
Матеріал пильника: TPE (термопластичний еластомер)
Діаметр шарніра [мм]: 107
Оригінальні номери
OEM:
7E0498104PX
7E0498104P
VAG:
7H0407332J
7H0498104G
7H0498104GX
7H0498104A
7H0407332
Каталог запчастин для автомобілів до яких застосовується ця деталь
